Electrostatic Precipitation (ESP) Overview
PARTICULATE & OPACITY CONTROL
Since 1967, PPC has been a stable force in the field of Electrostatic Precipitation (ESP). Industry installations include wood products, cement, pulp and paper, municipal & medical waste incinerators, coal fired boilers, coke ovens, bentonite dryers, glass furnaces, petroleum cat crackers, biomass boilers, and mixed fuel co-generation.
THE BASICS
What is Precipitation? In our business, the word Precipitation refers to the process of removing a substance from a medium.
What is Electrostatic Precipitation?
Electrostatic precipitation utilizes one of the basic principles of electricity and electromagnetism: Magnetic Attraction. A charged particle will be attracted to and move toward a neutral or oppositely charged surface if enough attraction is present and the particle is not immobile.
What is an Industrial Electrostatic Precipitator?
An Industrial Electrostatic Precipitator, often called an ESP, utilizes an electrode to produce a corona that ionizes and charges particles (dust, oil, fume, etc). Once charged, the particles naturally move toward surfaces of neutral or opposite charge. Those neutral or oppositely charged surfaces can be stationary, like collections plates or ductwork; or be dynamic, like other particles in the same gas stream. Once enough particles have been accumulated in an area, one of many removal methods can be utilized to remove the collected particles.
History
The first recorded observation of the phenomena that is the basis of industrial electrostatic precipitation was in 1600 by William Gilbert, an English scientist. Gilbert wrote in his work De Magnete, that “….[electricks] entice smoke sent out by an extinguished light [flame]”. The first large scale industrial application of electrostatic precipitation was performed in 1885 by Walker and Hutchings, who based their design upon observations and experiments of Sir Oliver Lodge, a British electrical physicist. The Walker and Hutchings precipitator had problems attributed to an inadequate power supply as well as an over abundance of small highly resistive particles present in the flue gas stream.
In 1906 the DuPont Corporation enlisted Frederick Gardner Cottrell to help them with the problem of separating arsenic from sulfuric acid. Cottrell’s approach to the separation resulted in a pure sulfuric acid mist. Cottrell then began to experiment with precipitation to condense the mist for the recovery of the sulfuric acid. He identified two major deficiencies in previous designs of precipitators: the power supply and the discharge electrode (used to generate corona). Utilizing the latest available power supply technology of the time (the synchronous mechanical rectifier and high voltage AC transformer) along with a pubescent (villous) discharge electrode, Cottrell succeeded in collected the mist. Cottrell filed his patent later that same year and received it in 1908.
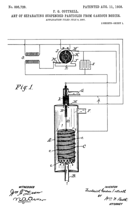
The basic design developed by Cottrell has not changed much over the years. Examining the patent picture to the left, gases enter the chamber (A) via an inlet (B) and encounter the high voltage electrode (C & c) where the particles become charged and are attracted to (A). The high voltage from the power supply (I,J,K,L,M,N,O) enters the chamber through an insulating bushing (H,h) that is pressurized from the backside (G).
The first recorded observation of the phenomena that is the basis of industrial electrostatic precipitation was in 1600 by William Gilbert, an English scientist. Gilbert wrote in his work De Magnete, that “….[electricks] entice smoke sent out by an extinguished light [flame]”. The first large scale industrial application of electrostatic precipitation was performed in 1885 by Walker and Hutchings, who based their design upon observations and experiments of Sir Oliver Lodge, a British electrical physicist. The Walker and Hutchings precipitator had problems attributed to an inadequate power supply as well as an over abundance of small highly resistive particles present in the flue gas stream.
In 1906 the DuPont Corporation enlisted Frederick Gardner Cottrell to help them with the problem of separating arsenic from sulfuric acid. Cottrell’s approach to the separation resulted in a pure sulfuric acid mist. Cottrell then began to experiment with precipitation to condense the mist for the recovery of the sulfuric acid. He identified two major deficiencies in previous designs of precipitators: the power supply and the discharge electrode (used to generate corona). Utilizing the latest available power supply technology of the time (the synchronous mechanical rectifier and high voltage AC transformer) along with a pubescent (villous) discharge electrode, Cottrell succeeded in collected the mist. Cottrell filed his patent later that same year and received it in 1908.
The basic design developed by Cottrell has not changed much over the years. Examining the patent picture to the left, gases enter the chamber (A) via an inlet (B) and encounter the high voltage electrode (C & c) where the particles become charged and are attracted to (A). The high voltage from the power supply (I,J,K,L,M,N,O) enters the chamber through an insulating bushing (H,h) that is pressurized from the backside (G).
In the simplest terms, a precipitator is a device that utilizes electrostatic forces for the collection of particulate.
Proven Reliable Technology
An Electrostatic Precipitator applies separation forces directly to the particles to be collected. This is much more efficient than trying to apply separation force to the entire gas stream, as is the case for venturi scrubbers or baghouses. The substantial savings in operating cost can pay for the equipment in only 2-3 years. The precipitator can operate at temperatures up to 750 deg. Fahrenheit providing durable advantages over fabric filters.
- Factory Built Units
- Pre-Engineered
- Modular Technology
- 3,000 CFM to 1,100,000 CFM
- Standard Off-The-Shelf Parts
- In-House Fabrication and Field Erection
- Low Maintenance
- Temperatures up to 750˚F
Operation
Dust laden gases are drawn into one side of the precipitator. Inside, high voltage electrodes impart a negative charge to the entrained particles. These negatively charged particles are then attracted to a grounded collection surface. At periodic intervals the collecting surfaces are cleaned using rappers or sonic horns causing the particles to fall into collection hoppers where they are removed typically by screw conveyor arrangement. To the left is a process and instrumentation diagram (PID) of a typical three field electrostatic precipitator.
- Operation above the acid dew point simplifies corrosion prevention and allows for affordable carbon steel fabrication.
- Modular overseas units are designed for containerized ocean freight.
- ESP Installations in USA, Canada, Hungary, Puerto Rico, Colombia, Chile, Romania, Uruguay, and Saudi Arabia.
PPC has completed over 500 successful air pollution & particulate control projects, and with over 40 years of experience PPC has been a stable force in the field of electrostatic precipitation.
Have questions about Electrostatic Precipitation (ESP) - Dry ESP?
Ask a PPC Industries Expert